|
 |
法兰连接手动钢制闸阀 |
| 型号 |
| 配管法兰 |
公称压力
PN(MPa) |
法兰
密封面 |
产品型号 |
|
JB/T79
GB/T9113
HG20592-20635 |
1.6 |
凸面 |
Z4 -16C |
Z4 -16P |
Z4 -16R |
Z4 -16I |
| 2.5 |
Z4 -25 |
Z4 -25P |
Z4 -25R |
Z4 -25I |
| 4.0 |
凹凸面 |
Z4 -40 |
Z4 -40P |
Z4 -40R |
Z4 -40I |
| 6.4 |
Z4 -64 |
Z4 -64P |
Z4 -64R |
Z4 -64I |
| 10.0 |
Z4 -100 |
Z4 -100P |
Z4 -100R |
Z4 -100I |
| 锥齿轮传动闸阀 |
在型号“Z”后面插入“5”,示例Z541Y-100 |
|
电动闸阀 |
在型号“Z”后面插入“9”,示例Z941Y-100 | |
| |
|
用途与结构特点
法兰连接钢制闸阀适用于公称压力PN1.6~10.0MPa,工作温度-29~600℃的石油、化工、制药、化肥、电力行业等各种工况的管路上,切断或接通管路介质。适用介质为:水、油品、蒸汽、酸性介质等。操作方式有:手动、正齿轮传动、锥齿轮传动、气动、电动等。
- 按国内先进标准设计、制造,密封可靠,性能优良,造型美观。
- 闸板、阀座密封面采用司太立(Stellite)钴基硬质合金堆焊而成,耐磨、耐高温、耐腐蚀,抗擦伤性能好,使用寿命长。
- 采用楔式弹性闸板结构,中大口径设置滚动轴承,开关灵活,启闭轻松。
- 阀杠表面氮化处理,有良好的抗腐蚀性,抗擦伤性和耐磨性。
- 可采用各种配管法兰标准及法兰密封面型式,满足各种工程需要及用户要求。
- 阀体材料品种齐全,填料、垫片可根据实际工况或用户要求合理选配,能适用于各种压力、温度及介质工况。
|
| |
| 标准与规范 |
| 设计与制造 |
结构长度 |
压力温度等级 |
连接法兰 |
试验与检验 |
| GB/T12234 |
GB/T12221 |
GB/T9131
JB/T74
HG20604 |
GB/T9113
JB/T79
HG20592~20635 |
GB/T13927
JB/T9092 | |
| |
| 性能规范 |
| 公称压力 |
试验压力(MPa) |
适用温度(℃) |
适用介质 |
| (MPa) |
强度试验 |
密封试验 |
WCB |
Cr5Mo |
1Cr18Ni9Ti |
| 1.6 |
2.4 |
1.8 |
≤425 |
≤540 |
≤600 |
水、油品、蒸汽
酸性介质等 |
| 2.5 |
3.8 |
2.8 |
| 4.0 |
6.0 |
4.4 |
| 6.4 |
9.6 |
7.1 |
| 10.0 |
15.0 |
11.0 | |
| |
| 主要零件材料 |
| 零件名称 |
材料牌号 |
| 阀体 |
WCB |
A105 |
ZGCr5Mo |
CF8 |
CF8M
ZG1Cr18Ni9Ti |
CF3 |
CF3M |
Cr5Mo |
| 阀盖 |
WCB |
A105 |
12CrMoV
ZGCr5Mo |
304
CF8 |
316
CF8M |
CF3 |
CF3M
316L |
Cr5Mo |
| 支架 |
WCB |
A105 |
WCB |
CF8 |
CF8M |
CF3 |
CF3M |
Cr5Mo |
| 闸板 |
WCB |
25 |
ZGCr5Mo |
CF8 |
CF8M |
CF3 |
CF3M |
38CrMoAL
25Cr2MoV |
| 阀杠 |
2Cr13 |
2Cr13 |
25Cr2MoV |
1Cr18Ni9Ti |
| 阀座 |
25 |
25 |
304 |
304 |
304 |
304 |
304 |
304 |
| 垫片、垫环、密封环 |
包覆垫片、304、增强柔性石墨 |
| 填料 |
增强柔性石墨 |
| 阀杠螺母 |
ZCuAI10Fe3 | |
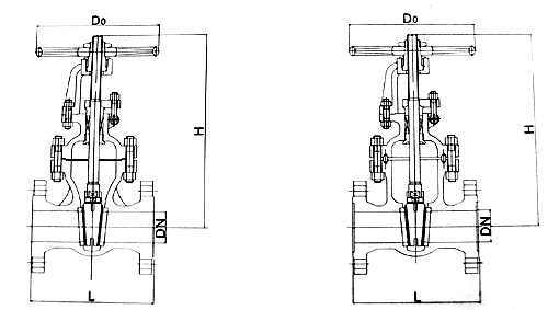
| 结构简图 |
 |
| 产品规格和外形尺寸 |
| 型号 |
公称压力
(MPa) |
尺寸(mm) |
| DN |
15 |
20 |
25 |
32 |
40 |
50 |
65 |
80 |
100 |
125 |
150 |
200 |
250 |
300 |
350 |
400 |
450 |
500 |
600 |
|
Z40H/1Y-16C
Z40W/1Y-16P/R
Z401/Y-16I |
1.6 |
L |
130 |
150 |
160 |
180 |
200 |
250 |
265 |
280 |
300 |
325 |
350 |
400 |
450 |
500 |
550 |
600 |
650 |
700 |
800 |
| H |
190 |
220 |
240 |
310 |
360 |
417 |
452 |
530 |
607 |
614 |
850 |
1060 |
1225 |
1415 |
1630 |
1780 |
2050 |
2181 |
2599 |
| D0 |
120 |
140 |
160 |
180 |
200 |
240 |
240 |
280 |
300 |
320 |
350 |
400 |
450 |
500 |
500 |
600 |
750 |
720 |
720 |
|
Z40H/1Y-25
Z40W/1Y-25P/R
Z401/Y-25I |
2.5 |
L |
130 |
150 |
160 |
180 |
200 |
250 |
265 |
280 |
300 |
325 |
350 |
400 |
450 |
500 |
550 |
600 |
650 |
700 |
800 |
| H |
190 |
220 |
240 |
310 |
360 |
417 |
452 |
567 |
590 |
756 |
880 |
1041 |
1260 |
1415 |
1630 |
1780 |
2050 |
2181 |
2599 |
| D0 |
120 |
140 |
160 |
180 |
200 |
240 |
240 |
280 |
320 |
320 |
400 |
400 |
450 |
500 |
500 |
600 |
750 |
720 |
720 |
|
Z40H/1Y-40
Z40H/1Y-40P/R
Z401/Y-40I |
4.0 |
L |
130 |
150 |
160 |
180 |
200 |
250 |
280 |
310 |
350 |
400 |
450 |
550 |
650 |
750 |
850 |
950 |
1050 |
1150 |
|
| H |
190 |
220 |
240 |
310 |
360 |
417 |
452 |
567 |
590 |
776 |
885 |
1065 |
1250 |
1531 |
1700 |
1770 |
1820 |
1880 |
|
| D0 |
120 |
140 |
160 |
180 |
200 |
240 |
240 |
280 |
320 |
350 |
400 |
450 |
550 |
640 |
640 |
640 |
680 |
680 |
|
|
Z40H/1Y-64
Z40H/1Y-64P/R
Z401/Y-64I |
6.4 |
L |
170 |
190 |
210 |
230 |
340 |
350 |
280 |
310 |
350 |
400 |
450 |
550 |
650 |
750 |
850 |
950 |
|
|
|
| H |
200 |
230 |
255 |
330 |
42 |
505 |
545 |
605 |
665 |
780 |
980 |
1120 |
1332 |
1680 |
1745 |
1820 |
|
|
|
| D0 |
140 |
160 |
180 |
200 |
220 |
280 |
280 |
320 |
400 |
400 |
450 |
550 |
550 |
640 |
640 |
680 |
|
|
|
|
Z40H/1Y-100
Z40H/1Y-100P/R
Z401/Y-100I |
10.0 |
L |
170 |
190 |
210 |
230 |
240 |
250 |
280 |
310 |
350 |
400 |
450 |
550 |
650 |
750 |
|
|
|
|
|
| H |
210 |
260 |
310 |
350 |
450 |
505 |
545 |
605 |
665 |
780 |
980 |
1320 |
1580 |
1810 |
|
|
|
|
|
| D0 |
140 |
160 |
180 |
200 |
220 |
280 |
280 |
320 |
400 |
400 |
450 |
550 |
550 |
640 |
|
|
|
|
| | |
|
|
|